cdn的全称是Content Delivery Network,即内容分发网络。CDN是构建在现有网络基础之上的智能虚拟网络,依靠部署在各地的边缘服务器,通过中心平台的负载均衡、内容分发、调度等功能模块,使用户就近获取所需内容,降低网络拥塞,提高用户访问响应速度和命中率。
上述来自:CDN_百度百科 (baidu.com)
个人觉得cdn简而言之是:通过就近的暂存信息的CDN节点向用户发送信息
cdn会隐藏服务器真实的ip地址,无法对目标网站的操作系统进行渗透,cdn站点是虚拟的,拥有相同的网站架构,且cdn服务器可与站点服务器进行交互,因此sql注入等漏洞的挖掘并不受太大影响。
通过工具ping,看显示的ip地址是否唯一,如果不唯一,则这些ip地址为CDN的地址
使用工具:
IP/IPv6查询,服务器地址查询 – 站长工具 (chinaz.com)
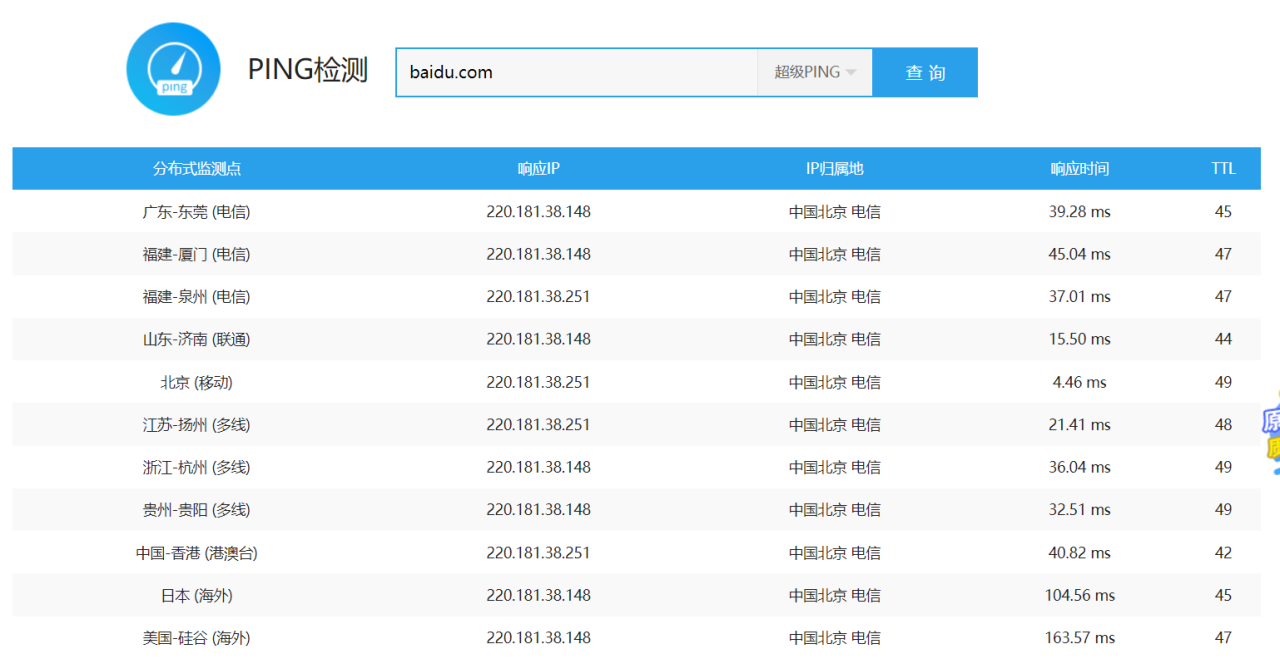
baidu.com的ping检测_网站测速工具_多地点ping检测 – 爱站网 (aizhan.com)
(以百度为例)

可以看到在很多地方都有它的ip地址,可以确定这个是它的CDN节点
还有一个工具检查真实ip:

但是用工具也不能确定这个ip是不是真的
如果自己不放心还可以用手动进行寻找,并结合实际,分析公司所在地和ip所在地继续分析
在有些网站进行注册的时候,会通过邮箱认证,或发送邮件信息,此时分析邮件数据里面的ip地址,其中第一个ip是腾讯作为中转发送的
子域名查询:
因为有些主站是做了CDN服务而子站是没有做CDN服务
子域名挖掘机:
链接:https://pan.baidu.com/s/1otbSIrRVIYotbB3VVeCSlw
提取码:hj12
邮件服务查询:
邮箱大部分都是内部人在访问,而且访问量一般不会很大,所以一般不会做CDN。
国外地址请求:
CDN一般根据用户群就近布置
例:一个网站的用户都在国内,出于经济原因,那么这个网站管理人员就不会在国外布置CDN节点,在国外访问可能就直接访问到真实IP。多选几个冷门国家进行访问,如果IP都相同,很可能就是真实ip。
(这个会使用到相关工具)
遗留文件:
例:php的phpinfo.php,可能会看到真实IP
扫描全网:
可能得到所有IP,然后进行分析
黑暗引擎搜索: 可能会得到google的特定搜索
fofa、shodan、谛听、zoomeye、censys
(要自己进行人工的一个分析)
特定文件dns历史记录:
网站刚开始可能没有CDN,那么通过查新网站的CDN历史记录,可能会找到当时的解析到的IP,这个IP可能就是当前网站的真实IP。
以量打量:
一个CDN节点的流量比如有1G,那么很多人去访问,将流浪耗尽,之后再访问就可能是真实IP了。(又称流量耗尽攻击)。
真实IP地址获取后绑定指向地址更改本地HOSTS解析指向文件
原文链接:https://blog.csdn.net/qq_53079406/article/details/122940715?ops_request_misc=%257B%2522request%255Fid%2522%253A%2522171836857716800213022356%2522%252C%2522scm%2522%253A%252220140713.130102334.pc%255Fblog.%2522%257D&request_id=171836857716800213022356&biz_id=0&utm_medium=distribute.pc_search_result.none-task-blog-2~blog~first_rank_ecpm_v1~times_rank-29-122940715-null-null.nonecase&utm_term=cdn%E7%B3%BB%E7%BB%9F
原创文章,作者:优速盾-小U,如若转载,请注明出处:https://www.cdnb.net/bbs/archives/32338