我心里都是事,但是我无法表达,我把错归结到自己身上,我怪不了任何人。。。
—- 网易云热评
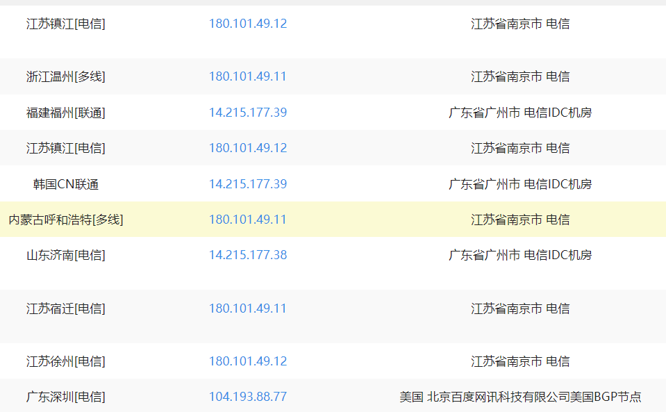
一、判断cdn是否存在
多地ping,可以看到不同地区访问不同的ip,说明存在CDN

二、常见绕过CDN技术
1、子域名绕过
搭建CDN需要有花费的,所以一般都是主站搭建CDN,我们可以从子域名扫描,然后通过子域名入手
2、让网站主动给你发邮件
通过注册、密码找回等功能,让网站主动发邮件,然后点击显示邮件原文,就可以看到对方真实ip
Received: from avcpower.com (unknown [60.248.XXX.119])
by newmx36.qq.com (NewMx) with SMTP id

3、国外地址绕过
CDN部署一般会忽略国外的ip
4、修改hosts文件绕过cdn访问
当知道真实ip后,修改hosts文件,将域名指向真实地址
三、在线查询真实ip(仅供参考)
1、https://get-site-ip.com/

2、https://x.threatbook.cn/


3、tools.ipip.net/cdn.php
通过不同国家访问目标地址

四、小技巧
搜索域名,一定要搜索下面几个,会有小惊喜
www.***.com
**.com
m.**.com
禁止非法,后果自负
欢迎关注公众号:web安全工具库
欢迎关注视频号:之乎者也吧



原文链接:https://blog.csdn.net/weixin_41489908/article/details/119594872?ops_request_misc=%257B%2522request%255Fid%2522%253A%2522165934461816782248559192%2522%252C%2522scm%2522%253A%252220140713.130102334.pc%255Fblog.%2522%257D&request_id=165934461816782248559192&biz_id=0&utm_medium=distribute.pc_search_result.none-task-blog-2~blog~first_rank_ecpm_v1~times_rank-8-119594872-null-null.nonecase&utm_term=%E6%90%AD%E5%BB%BAcdn
原创文章,作者:优速盾-小U,如若转载,请注明出处:https://www.cdnb.net/bbs/archives/6614